您当前的位置:成果库 > 2‑18GHz超宽带三陷波可调微带滤波器
基本信息
- 成果类型 高等院校
- 委托机构 西安电子科技大学
- 成果持有方 西安电子科技大学
- 行业领域 微电子
- 项目名称 2‑18GHz超宽带三陷波可调微带滤波器
- 知识产权 发明专利
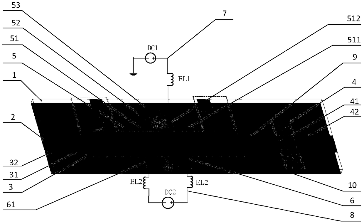
- 项目简介 本发明公开了一种2‑18GHz超宽带三陷波可调微带滤波器,主要解决超宽带滤波器难以覆盖2‑18GHz的超宽频带、多陷波连续可调的问题。其包括微带介质基板(1)、高通滤波单元(3)和低通滤波单元(4);高通滤波单元(3)的上、下方分别耦合有可调双陷波谐振器(5)和可调单陷波谐振器(6);高通滤波单元(3)与低通滤波单元(4)通过级联传输线(9)匹配连接,并通过输入输出馈线(2)馈电,通过调节可调双陷波谐振器(5)和可调单陷波谐振器(6)中的变容二极管实现对第一陷波和第三陷波的连续可调。本发明能覆盖2‑18GHz超宽频带,并保持第二陷波不变,第一陷波和第三陷波连续可调,可用于无线通信系统。
-
交易信息
- 意向交易额 面议
- 挂牌时间 2017/11/21
- 委托机构 西安电子科技大学
- 联系人姓名 王小刚
- 联系人电话 15802954800
- 联系人邮箱 745490733@qq.com
- 分享至:


373
2018/08/31
咨询成果
发布成果