您当前的位置:成果库 > 一种网状反射面可展开天线索网与桁架连接机构
基本信息
- 成果类型 高等院校
- 委托机构 西安电子科技大学
- 成果持有方 西安电子科技大学
- 行业领域 其他电子信息
- 项目名称 一种网状反射面可展开天线索网与桁架连接机构
- 知识产权 发明专利
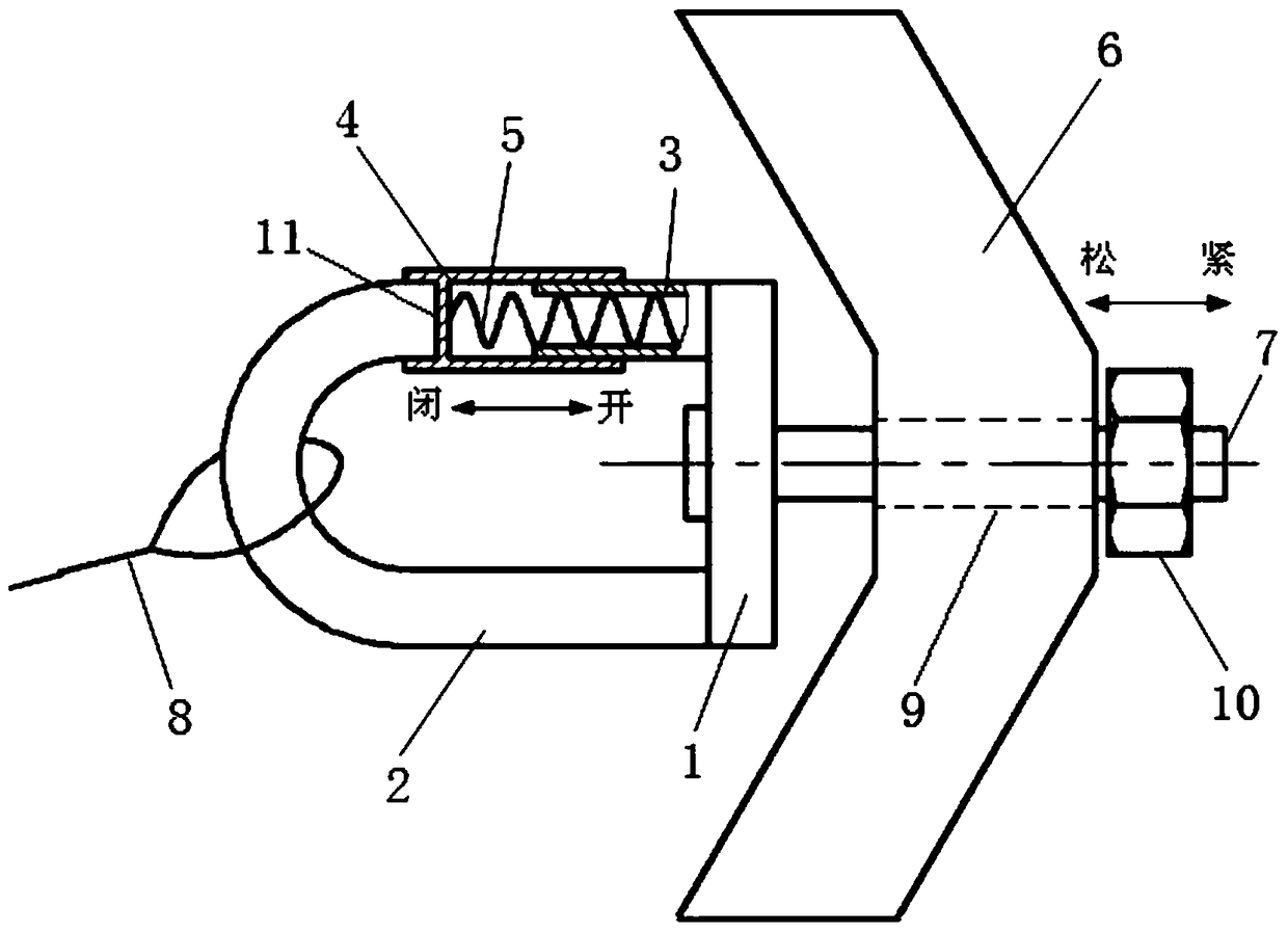
- 项目简介 本发明提供了一种网状反射面可展开天线索网与桁架连接机构,其固定座的左侧设有U形环,U形环的开口端与固定座相对,且U形环开口端位于下方的端头与固定座的下端固定,固定座的上端固定有水平设置的套筒,套筒上套接有可左右滑动的卡销;套筒内设有能够推动卡销向左滑动的弹性机构,U形环开口端位于上方的端头与卡销相对,且当卡销在弹性机构的推动下滑动到左边时,卡销左端设置的凹槽正好套住U形环开口端位于上方的端头;固定座的右侧固定有水平设置的穿过桁架接头上的通孔的拉杆,该拉杆上设置有当U形环连接索网边界拉索时,能够调整拉杆沿通孔左右移动的调整机构。本发明具有结构简单,操作方便的特点,便于实现索网在桁架上的快速安装。
-
交易信息
- 意向交易额 面议
- 挂牌时间 2017/12/12
- 委托机构 西安电子科技大学
- 联系人姓名 王小刚
- 联系人电话 15802954800
- 联系人邮箱 745490733@qq.com
- 分享至:


456
2018/08/27
咨询成果
发布成果