您当前的位置:成果库 > 基于石墨烯复合结构频率选择表面的方向图可重构天线
基本信息
- 成果类型 高等院校
- 委托机构 西安电子科技大学
- 成果持有方 西安电子科技大学
- 行业领域 广播电视
- 项目名称 基于石墨烯复合结构频率选择表面的方向图可重构天线
- 知识产权 发明专利
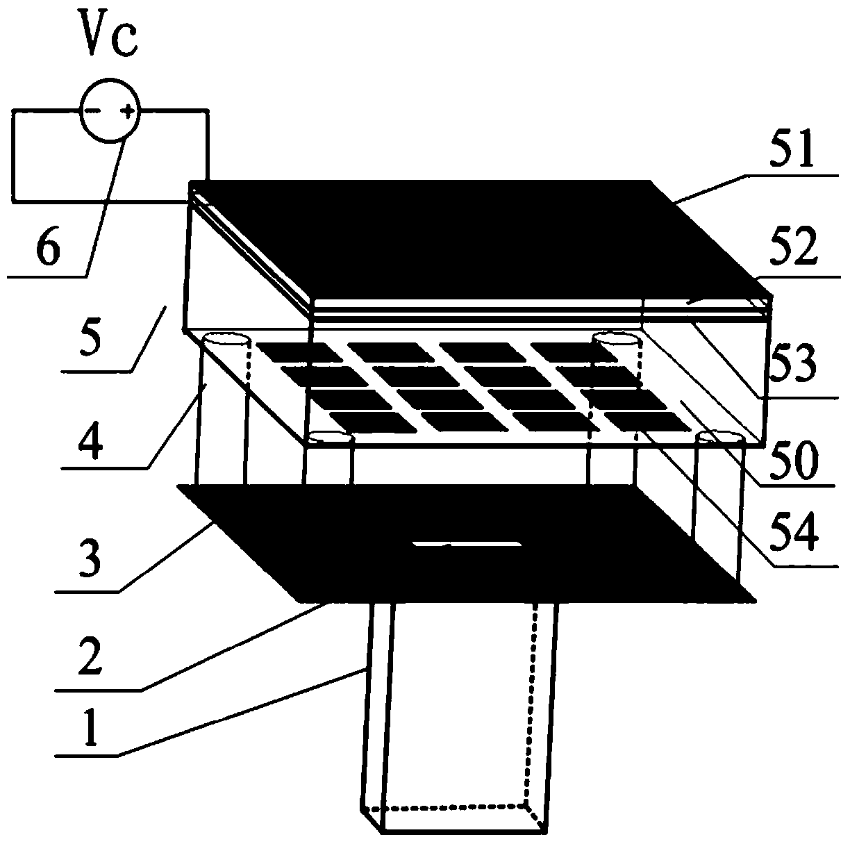
- 项目简介 本发明提出了一种基于石墨烯复合结构频率选择表面的方向图可重构天线,用于解决现有技术不能灵活改变天线增益和波束带宽的问题。包括矩形波导馈线、矩形辐射单元、反射板、频率选择表面和直流偏压Vc;频率选择表面包括自上而下层叠的石墨烯复合结构、介质基板和正方形贴片阵列或石墨烯复合结构,石墨烯复合结构由依次叠加的石墨烯层、氧化铝层和多晶硅层组成,在石墨烯层和多晶硅层之间加载有直流偏压Vc;反射板上设置有矩形辐射单元,反射板上面通过四个支撑柱固定有频率选择表面,其下面固定有矩形波导馈线。本发明可以灵活改变天线的辐射增益和波束宽度,实现毫米波天线方向图的可重构。
-
交易信息
- 意向交易额 面议
- 挂牌时间 2018/04/17
- 委托机构 西安电子科技大学
- 联系人姓名 王小刚
- 联系人电话 15802954800
- 联系人邮箱 745490733@qq.com
- 分享至:


10032
2018/08/06
咨询成果
发布成果